Вход/Регистрация
Строим баню
вернуться

Доброва Елена Владимировна

Шрифт:

– из красной, белой или бесцветной массы. В зависимости от исходного сырья цвет корпуса может быть цветным, бесцветным или белым. Цвет корпуса в глазурованных плитках имеет в целом относительное значение. Неглазурованные плитки по цвету похожи с исходным сырьем;

– различной формы и размеров, т. е. разного формата. Самыми распространенными формами являются квадрат и прямоугольник, но существуют и другие, порой весьма сложные, например шестигранник, восьмигранник и т. д.;

– одинарного и двойного обжига. Одинарному обжигу подвергаются как неглазурованные, так и глазурованные плитки. Плитки, прошедшие одинарный обжиг, пригодны для внутренней облицовки стен, перегородок и простенков. Плитки двойного обжига всегда глазурованные, они отличаются особой прочностью, пригодны и для облицовки пола, и для наружной облицовки стен.

Как и все керамические изделия, плитки отличаются жесткостью (т. е. не деформируются) и хрупкостью (т. е. умеренной ударной прочностью).

Керамическая облицовочная плитка по назначению делится на:

а) плитку для внутренней облицовки стен;

б) фасадную плитку и карты ковровой мозаики из нее;

в) плитку для пола и карты ковровой мозаики из нее;

г) плитку со встроенными деталями.

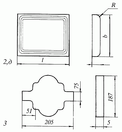
Плитка для внутренней облицовки стен по виду отделки бывает глазурованной и неглазурованной; по форме – квадратной, прямоугольной и фигурной; по виду поверхности – гладкой и рифленой; по виду боковых граней – с завалом и без завала; по цвету – белой, цветной-одноцветной, цветной-многоцветной, декорированной; по толщине – 3–3,5 мм. Помимо плиток, при облицовочных работах используют керамические фасонные детали (рис. 46). По всем показателям (вид отделки лицевой поверхности, вид граней, цвет и пр.) керамическая плитка для пола аналогична фасадной керамической плитке. Разнят их два показателя: форма и толщина. Толщина керамической плитки для облицовки пола должна быть 5–13 мм, а по форме она может быть квадратной, прямоугольной, треугольной, шестигранной и т. д. (рис. 47).

Рис. 46. Плитка и фасонные детали из керамики для облицовки стен. Форма и размеры: 1 – квадратная плитка: 1,а – без завала сторон; 1,б – с завалом одной стороны; 1,в – с завалом двух смежных сторон; 1,г – с завалом трех сторон; 1,д – с завалом четырех сторон; 2 – прямоугольная плитка: 2,а – без завала сторон; 2,б – с завалом одной стороны; 2,в – с завалом двух сторон; 2,г – с завалом трех сторон

Рис. 46 (продолжение). Плитка и фасонные детали из керамики для облицовки стен. Форма и размеры: 2 – прямоугольная плитка: 2,д – с завалом четырех сторон; 3 – фигурная плитка

Рис. 46 (продолжение). Плитка и фасонные детали из керамики для облицовки стен. Форма и размеры: 4 – угловые фасонные детали: 4,а – для отделки внешних углов; 4,б – для отделки внутренних углов

Рис. 46 (продолжение). Плитка и фасонные детали из керамики для облицовки стен. Форма и размеры: 5 – плинтусовые фасонные детали: 5,а – прямые; 5,б – для отделки внешних углов; 5,в – для отделки внутренних углов; 6 – карнизные фасонные детали: 6,а – прямые

Рис. 46 (продолжение). Плитка и фасонные детали из керамики для облицовки стен. Форма и размеры: 6 – карнизные фасонные детали: 6б – для отделки внешних углов, 6в – для отделки внутренних углов

Таблица 6
Размеры плиток и фасонных деталей из керамики для внутренней облицовки стен

Рис. 47. Формы керамической плитки для облицовки пола: 1 – квадратная; 2 – прямоугольная; 3 – треугольная; 4 – четырехгранная; 5 – пятигранная; 6 – шестигранная; 7 – восьмигранная

Рис. 47 (продолжение). Формы керамической плитки для облицовки пола: 8–9 – фигурные; 10 – накладка на проступи лестничных маршей

Керамическая плитка для пола выпускается следующих размеров (в мм):

а) квадратная (l х b) 300 х 300, 250 х 250, 200 х 200, 150 х 150, 100 х 100, 48 х 48;

б) прямоугольная (l х b) 400 х 300, 300 х 200, 300 х 150, 200 х 150, 200 х 100;

в) треугольная (l х b) 98 х 139, 83 х 118, 68 х 97, 58 х 83;

г) четырехгранная (l х b) 100 х 230, 85 х 196, 75 х 173;

д) пятигранная (l х b) 200 х 115, 170 х 98, 150 х 86,5;

е) шестигранная (l х b) 200 х 230, 170 х 196, 150 х 173;

ж) восьмигранная (l х b х b1) 200 х 70 х 100, 170 х 60 х 85;

з) накладка на проступи лестничных маршей (l х b) 400 х 300, 300 х 200.

Керамическую плитку для облицовки пола отличают высокие характеристики безопасности: обычно лицевая поверхность таких плиток не гладко отполированная, а фактурная, имеющая рифление.

  • Читать дальше
  • 1
  • ...
  • 54
  • 55
  • 56
  • 57
  • 58
  • 59
  • 60
  • 61
  • 62
  • 63
  • 64
  • ...

Ебукер (ebooker) – онлайн-библиотека на русском языке. Книги доступны онлайн, без утомительной регистрации. Огромный выбор и удобный дизайн, позволяющий читать без проблем. Добавляйте сайт в закладки! Все произведения загружаются пользователями: если считаете, что ваши авторские права нарушены – используйте форму обратной связи.

Полезные ссылки

  • Моя полка

Контакты

  • chitat.ebooker@gmail.com

Подпишитесь на рассылку: