Вход/Регистрация
Строим баню
вернуться

Доброва Елена Владимировна

Шрифт:

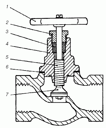
Рис. 70. Головка крана с возвратно-поступательным движением в сборе: 1 – втулка; 2 – шток; 3 – набивка сальника; 4 – резьба штока; 5 – клапан с прокладкой; 6 – седло клапана

Чтобы предотвратить просачивание воды через корпус головки, в ней вокруг штока оставлено некоторое пространство, так называемый сальник. В нем плотно утрамбован уплотнитель – сальниковая набивка, которая со стороны маховика поджимается специальной втулкой. Устройство, как видите, нехитрое.

Головка крана может иметь и несколько более сложную конструкцию, в которой движение вращательно-поступательное. Здесь осевое перемещение задается уже не самому штоку, а дополнительной детали – шпинделю, на котором и закреплен клапан с прокладкой. Маховик по-прежнему вращает шток, только, в отличие от первого случая, шток просто вставлен в корпус головки, которая внутренней резьбы не имеет. Зато резьбовое соединение есть у штока со шпинделем. Последний, в отличие от штока, вращаться не может, и ему остается только перемещаться вверх и вниз в корпусе головки. Иными словами, принцип действия здесь тот же, только роль пары корпус-шток выполняет пара шток-шпиндель.

Краны с керамическими дисками почти не отличаются по внешнему виду от вышеописанных и полностью взаимозаменяемы, т. е. головка с дисками может быть установлена в тот же кран или смеситель, что и любая из двух первых.

При этом конструктивно головка с керамикой (рис. 71) более совершенна. В ней вообще отсутствуют вертикальные перемещения, а отпирание происходит за счет сов-мещения просветов в двух дисках. Диски притерты друг к другу и за счет совершенно гладких поверхностей легко скользят, т. е. скользит только один из дисков, закрепленный в поворотном цилиндре, а второй неподвижен – просвет в нем играет роль гнезда клапана. Клапана тут, понятно, никакого нет, в положении «закрыто» отверстие нижнего диска заперто плоскостью верхнего.

Рис. 71. Головка крана с керамическими дисками в сборе: 1 – притертые керамические диски; 2 – уплотнительное кольцо; 3 – механизм поворота; 4 – регулирующая гайка; 5 – поворотный цилиндр из самосмазывающейся пластмассы

Вы поворачиваете маховик, один из дисков начинает вращаться, их отверстия совпадают – вода начинает поступать. Чем больше совмещаются отверстия двух дисков, тем больше открывается просвет для прохода воды. Когда отверстия совпадут полностью, кран будет максимально открыт.

Главное преимущество такой конструкции состоит в том, что кран с керамическими дисками более «чуткий», т. е. рабочий ход его маховика намного короче, чем у кранов с прокладкой и клапаном.

Больше не нужно выкручивать маховик, чтобы открыть кран «на полную», и закручивать маховик обратно – чтобы закрыть кран. Фактически маховик вообще не приходиться крутить, ему не нужен даже один полный оборот. Стоит повернуть на 90°, и вода пойдет с максимальным напором. Если повернуть еще на 90° или вернуть в прежнее положение (тут это совершенно неважно), кран будет закрыт. Все промежуточные позиции регулируют степень совпадения отверстий, а значит, и напор.

Вентили и задвижки относятся к запорной арматуре и выполняют чрезвычайно важную работу и должны постоянно находиться в работоспособном состоянии. Контрольный вентиль должен стоять на самом вводе, потому что он понадобится, если возникнет необходимость в ремонте отдельных участков коммуникаций, например для внесения изменений в схему разводки.

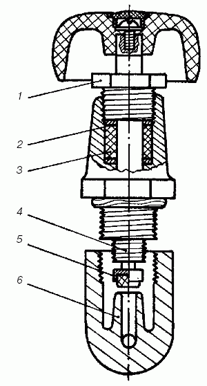
Вентили имеют устройство (рис. 72) и принцип действия, сходные с обычными кранами. У них также есть окно во внутренней перегородке корпуса, через которое проходит вода клапан с прокладкой, запирающий это отверстие; и шток с возвратно-поступательным ходом, проходящий в головке корпуса. Только соединение клапана со штоком может быть «плавающим», при помощи шарового соединения. Втулка сальника может поджиматься накидной гайкой, встречаются также вентили со спецвтулкой, выполняющей роль накидной гайки – она имеет резьбу и вкручивается в резьбу, нарезанную внутри головки.

Рис. 72. Устройство вентиля: 1 – маховик; 2 – втулка; 3 – набивка сальника; 4 – корпус головки; 5 – резьба штока; 6 – изоляция; 7 – клапан с прокладкой

Между корпусом и вентильной головкой может быть полужесткая прокладка, изготовленная из паронита, либо же соединение уплотняется льняной прядью с пропиткой.

Отличия в конструкции вентиля по сравнению с рассмотренным выше краном связаны с самим предназначением вентиля. Поскольку его рабочее состояние – «открыто», каждый элемент конструкции должен быть более надежным. Особенно большую нагрузку испытывает контрольный вентиль на вводе. Если прокладка в клапане крана может быть закреплена без фиксации (просто вставлена в клапан, имеющий вид диска с бортиком), то клапан вентильной головки имеет прокладку, закрепленную гайкой с шайбой на центрирующем выступе шпинделя. Такая конструкция узла вполне оправданна, ведь он находится под постоянным воздействием напора воды.

Корпус вентиля может быть выполнен из ковкого чугуна, стали или латуни. Стальной шток в сочетании с чугунной головкой корпуса имеет одну неприятную особенность – со временем сталь ржавеет, намертво срастаясь при этом с чугуном. Приходится поэтому при ремонте устанавливать новую головку корпуса в сборе со штоком. Латунный шток в чугунном вентиле выдерживает более долгий срок эксплуатации.

Поскольку вентиль, в отличие от крана, рассчитан на установку в магистрали (а не в конце трубы), следует соблюдать правила установки во избежание возникновения гидравлических сопротивлений. Правило это простое, между тем проконтролировать установку зачастую забывают. В результате вода проходит внутри корпуса вентиля в обратном направлении, нежели это предусмотрено самой конструкцией. Хорошего в этом мало – давление на клапан с прокладкой неоправданно возрастает, повышается давление в трубопроводе перед вентилем (в результате увеличивается нагрузка на уплотнения резьбовых соединений), а напор на выходе из вентиля снижается. Для контроля правильно-сти установки корпус вентиля имеет на наружной поверхности стрелку, обознача-ющую направление нормального прохода воды. Устанавливая новый вентиль, не забывайте свериться со стрелкой-указателем.

  • Читать дальше
  • 1
  • ...
  • 75
  • 76
  • 77
  • 78
  • 79
  • 80
  • 81
  • 82
  • 83
  • 84
  • 85
  • ...

Ебукер (ebooker) – онлайн-библиотека на русском языке. Книги доступны онлайн, без утомительной регистрации. Огромный выбор и удобный дизайн, позволяющий читать без проблем. Добавляйте сайт в закладки! Все произведения загружаются пользователями: если считаете, что ваши авторские права нарушены – используйте форму обратной связи.

Полезные ссылки

  • Моя полка

Контакты

  • chitat.ebooker@gmail.com

Подпишитесь на рассылку: