Вход/Регистрация
Строим баню
вернуться

Доброва Елена Владимировна

Шрифт:

Если канализационная сеть монтируется из чугунных труб, крепление горизонтальных участков (обычно располагаемых ниже уровня пола) должно устанавливаться через каждые два метра. Элементы крепления могут опираться как на стену (наименее предпочтительный вариант), так и на кирпичные столбы-подпорки.

Собирать канализационную сеть удобнее всего на верстаке, отдельными участками – в этом случае герметизация стыков наиболее удобна. Герметизацию стыков (рис. 78) традиционно производят зачеканкой двух третей глубины раструба смоляным жгутом с последующей заливкой оставшейся трети цементным раствором (девять частей цемента марки 300 на одну часть воды).

Рис. 78. Заделка стыков канализационных труб: а – навить уплотнение; б – утрамбовать уплотнение; в – залить раструб асбоцементным раствором

Цемент можно заменить асбестоцементной смесью (асбестовое волокно плюс цемент марки не ниже 400 в пропорции 1 : 2). Смесь готовится заранее, и только непосредственно перед употреблением ее разбавляют водой – около одной десятой массовой части.

Избежать утомительной и трудоемкой зачеканки уплотнителя поможет герметизация раструбов водонепроницаемым расширяющимся цементом. Он быстро затвердевает, при этом расширяясь и самоуплотняясь. Смоляная прядь в этом случае вообще не нужна; раструбное соединение центрируют и целиком заполняют раствором (2,5 части воды на 1 часть расширяющегося цемента), предварительно обеспечив уплотнение несколькими витками пряди возможных щелей в глубине раструба (при вертикальной сборке фрагмента).

Баня под домом

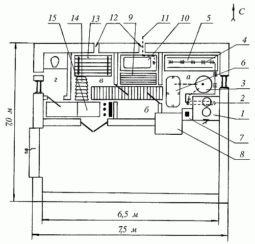
Если подвал вашего дома достаточно большой и сухой, то в нем можно устроить удобную баню с парной, моечной с ванной и душем и предбанником. Три стены фундамента бани совпадают с фундаментом дома, а четвертая выкладывается из красного кирпича. Пол и потолок бетонные. Пол и панели на высоту примерно 70–80 см облицовываются керамической плиткой. Оставшиеся части стен, потолок, двери и перегородки обшиваются деревянными досками.

Особое внимание в такой бане уделяется устройству слива, который не только должен отводить использованную воду, но и препятствовать образованию неприятных запахов. Для этого из бетона необходимо сделать вертикальную шахту с верхним горизонтальным сечением 50 х 50 см так, чтобы она выходила на 2/3 в парную и на 1/3 в моечную.

Глубина шахты должна превышать глубину промерзания грунта на вашем участке, но в любом случае она ей не следует быть меньше 50 см. Из этой шахты использованная вода попадает в трубу диаметром 11–15 см, которая устанавливается с небольшим уклоном и выводится за пределы приусадебного участка. Вход трубы должен быть заделан нержавеющей металлической решеткой.

Рис. 79. План бани под домом: а – парная; б – моечная; в – предбанник; г – туалет. 1 – печь-каменка; 2 – котел для подогрева воды; 3 – бочка; 4 – труба-радиатор; 5 – двойной потолок; 6 – надувной матрац; 7 – стояк-дымоход; 8 – фундамент под печь на первом этаже; 9 – решетки; 10 – ванна-душ; 11 – подвод холодной воды; 12 – продухи в фундаменте; 13 – возвышение; 14 – наклонная лестница – спуск с первого этажа; 15 – пульт управления ТЭНами, колодезным насосом, вентиляторами и освещением

На верхнем конце шахты по ее периметру устанавливается металличе-ский квадрат из двойных уголков. Внутрь этого квадрата крепится металлическая сетка мелкой очистки. Пол должен иметь небольшой уклон к шахте, а чтобы вода не лилась мимо сетки, со стороны пола необходимо сделать небольшой навес над шахтой (3 см).

Фундамент под баню должен быть ленточным. Он выполняется из бетона на глубину промерзания плюс 15 см. От кирпичной кладки его отделяет гидроизоляция из рубероида и смолы.

Земля под полом выравнивается и покрывается двумя слоями полиэтиленовой пленки и одним слоем рубероида. Получившийся таким образом гидроизоляционный слой заливается раствором из цемента и песка (10 см) и укрепляется арматурой. Через неделю на арматуру укладывается утеплитель – рубероид, засыпанный сверху керамзитом или гравием. Теплоизоляционный слой опять заливается цементным раствором, поверх которого кладется металлическая арматура. Готовый пол покрывается керамической плиткой.

На бетонный пол, выполненный с небольшим уклоном в сторону сливной шахты, кладется второй – деревянный. Его можно сделать в виде съемных решеток из толстых досок, которые крепятся горизонтально на лагах с помощью дубовых штырей.

Обогревается баня печью-каменкой из красного кирпича, расположенной вплотную к стояку-дымоходу. Основание печи лучше всего сделать квадратным. Высота топливника – 50 см. Сразу над топливником установлена металлическая решетка из толстых арматурных стержней. На решетке среди камней расположен котел, который греет воду в бочке. Котел можно сделать из металлической трубы, заваренной с двух сторон (длиной 70–80 см и диаметром 10–12 см), с двумя выходными трубками. Холодная вода из бочки поступает в котел, там она нагревается и возвращается обратно в бочку. Бочку надо поставить как можно выше, тогда хороший напор воды вам будет обеспечен. Дверцы топливника лучше вывести в предбанник.

Стояк-дымоход на всем своем протяжении должен быть полым, так он будет равномерно разогреваться от основания до самого верха.

Вентиляцию в бане надо устроить так, чтобы холодный воздух снаружи через продух в фундаменте проникал под потолок в моечной. Затем из моечной через 3–4 отверстия, сделанные на высоте 30–40 см от пола, он должен попадать в парную.

Чтобы создать в бане эффект легкого ветерка, над головой под самым потолком можно установить бесшумный вентилятор. Под ним на специальной подставке надо разложить пропаренные листья и травы для получения лечебного аромата.

  • Читать дальше
  • 1
  • ...
  • 81
  • 82
  • 83
  • 84
  • 85
  • 86
  • 87
  • 88
  • 89
  • 90
  • 91
  • ...

Ебукер (ebooker) – онлайн-библиотека на русском языке. Книги доступны онлайн, без утомительной регистрации. Огромный выбор и удобный дизайн, позволяющий читать без проблем. Добавляйте сайт в закладки! Все произведения загружаются пользователями: если считаете, что ваши авторские права нарушены – используйте форму обратной связи.

Полезные ссылки

  • Моя полка

Контакты

  • chitat.ebooker@gmail.com

Подпишитесь на рассылку: