Вход/Регистрация
Строим баню
вернуться

Доброва Елена Владимировна

Шрифт:

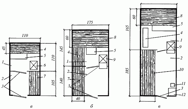
В бане, представленной на следующем плане (рис. 2, б), могут одновременно мыться три человека. В парной двое из них могут забраться на верх-ний полок и разместиться там, поджав ноги. Отапливать такую баню лучше всего печкой-каменкой из моечной.

Самый комфортный вариант бани приведен на рис. 2, в. Расчет всех ее помещений произведен с учетом того, что человек на полках располагается лежа. Печку-каменку в такой бане рекомендуется разместить в предбаннике, чтобы топить ее, не заходя в моечную.

На рис. 3 представлены планы малогабаритных бань, в которых парная совмещена с моечной.

Рис. 3. Малогабаритные бани: а – баня для 1 человека; б – баня для 2 человек; в – баня для 3 человек; 1 – парная-моечная; 2 – предбанник; 3 – двери; 4 – полок для размещения сидя; 5 – подставка; 6 – электропечь-каменка; 7 – скамейка; 8 – полок-лежанка; 9 – печь-каменка для топки дровами; 10 – лежанка; 11 – стул; 12 – стол

Основным преимуществом таких бань является то, что они занимают в два раза меньше места, чем традиционные, а главным недостатком – невозможность создать высокую температуру и поддерживать низкую влажность воздуха. Поэтому при пользовании такой баней надо очень аккуратно мыться, стараясь не расплескивать воду. Кроме того, если в бане одновременно находится несколько человек, то сначала им лучше попариться, затем проветрить помещение и только после этого приступать к мытью.

Если вы собираетесь совмещать посещение бани с общением в кругу приятных вам людей, то ее полезная площадь должна быть не менее 12 м2, а парная и моечная разделены.

Так вам будет удобнее поддерживать разные температурные режимы в этих помещениях, когда одни будут париться, а другие мыться.

Полок в парной должен быть достаточно широким и длинным, чтобы на нем можно было не только сидеть, но и лежать.

Предлагаем вам приблизительные размеры бани, которая предназначена для одновременного посещения 2–3 человек:

– наружные размеры бани 4 х 4 м;

– парная 200 х 150 см;

– моечная 200 х 200 см;

– предбанник 150 х 240 см.

Если полезная площадь бани менее 2 м2, то она называется банной камерой или банным шкафом.

Естественно, что ни мини-бани, ни банные камеры не отличаются тем комфортом, который может предоставить баня, построенная на больших приусадебных участках с полезной площадью 14–16 м2.

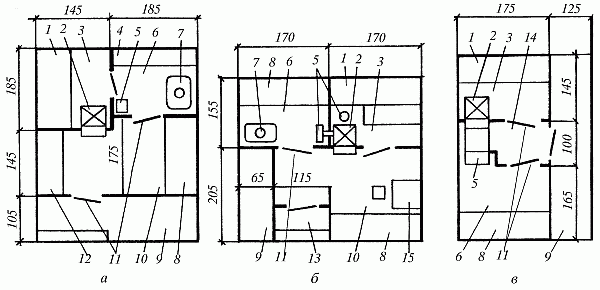
На рис. 4 представлены три варианта таких бань.

Рис. 4. Бани с полезной площадью более 12 м2: а – баня с террасой; б – баня с террасой и крыльцом; в – баня с террасой и тамбуром; 1 – полок; 2 – печь-каменка; 3 – парная; 4 – скамейка; 5 – емкость для горячей воды; 6 – моечная; 7 – душевой поддон; 8 – лежанка; 9 – терраса; 10 – предбанник; 11 – двери; 12 – подставка; 13 – крыльцо; 14 – тамбур; 15 – стол

К бане на первом плане (рис. 4, а) пристроена удобная терраса с навесом, которую можно использовать как место отдыха. В предбаннике имеются лежанка и место для складирования дров, служащее одновременно подставкой для емкости с водой.

В бане на рис. 4, б вместо террасы – широкое крыльцо с навесом, на котором расположена удобная лежанка.

С помощью легкого приспособления высота лежанки меняется, и она может использоваться как для сидения или лежания, так и для выполнения некоторых хозяйственных работ в качестве верстака.

В просторном предбаннике, кроме лежанки, можно разместить небольшой стол и стулья. Из предбанника две двери ведут в парную и моечную, оборудованную душем.

На третьем плане (рис. 4, в) предбанник заменен террасой или верандой, а вход в парную и моечную осуществляется через тамбур, в котором находится печь-каменка.

Предлагаем вам еще один вариант бани для 5–6 человек (рис. 5), состо-ящей из парной, моечной, предбанника и открытой веранды. Печь-каменка, находящаяся в парной, совмещена с камином и отапливается из предбанника.

Рис. 5. Баня для 5–6 человек: 1 – терраса; 2 – окно; 3 – стол; 4 – лежанка; 5 – предбанник; 6 – печь-каменка; 7 – полок; 8 – отдушина; 9 – парная; 10 – душевой поддон; 11 – моечная; 12 – двери; 13 – камин; 14 – вешалка; 15 – подставка-скамейка; 16 – перила

На садовом участке баню-сауну, как указывалось выше, можно совместить с жилым помещением. Домик в этом случае обычно состоит из открытой веранды, жилой комнаты – гостиной, кухни, душа с туалетом и сауны. Вход в парилку, площадь которой составляет 3,7 м2, – из примыкающей к душу раздевалки. Ее обогрев осуществляется с помощью установленной здесь электрической печи. Полки в парилке размещают в два яруса, так что на них одновременно могут париться от двух до шести человек. Если сауной по какой-то причине не пользуются, полки смещают до одного уровня, а помещение используют как спальню. Воду для сауны нагревают электроподо-гревателем объемом 25 л, который устанавливают на стене душа.

  • Читать дальше
  • 1
  • ...
  • 4
  • 5
  • 6
  • 7
  • 8
  • 9
  • 10
  • 11
  • 12
  • 13
  • 14
  • ...

Ебукер (ebooker) – онлайн-библиотека на русском языке. Книги доступны онлайн, без утомительной регистрации. Огромный выбор и удобный дизайн, позволяющий читать без проблем. Добавляйте сайт в закладки! Все произведения загружаются пользователями: если считаете, что ваши авторские права нарушены – используйте форму обратной связи.

Полезные ссылки

  • Моя полка

Контакты

  • chitat.ebooker@gmail.com

Подпишитесь на рассылку: