Вход/Регистрация
Строим баню
вернуться

Доброва Елена Владимировна

Шрифт:

Элементы кладки

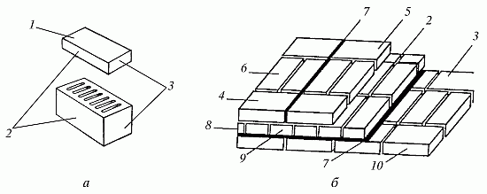
Рассмотрим основные термины, определяющие элементы каменной кладки (рис. 15).

Рис. 15. Стороны кирпича и камня (а) и элементы каменной кладки (б): 1 —постель; 2 – ложок; 3 – тычок; 4 – наружная верста; 5 – внутренняя верста; 6 – забутка; 7 – горизонтальный шов; 7 – вертикальный шов; 8 – фасад; 9 – тычковый ряд; 10 – ложковый ряд

Две большие по площади грани кирпича (камня), расположенные по противоположным сторонам, называют верхней и нижней постелью (1). Ими кирпич укладывается на раствор. Длинные боковые стороны называются ложками (2), короткие – тычками (3).

Кладка выполняется горизонтальными рядами, кирпичи в большинстве случаев укладываются на постель (плашмя). Бывают случаи, когда кирпичи кладут на ложковую грань (на ребро), например при кладке карнизов, тонких перегородок.

Версты – крайние ряды кирпича в рядах, которые образуют поверхность кладки. Версты, расположенные со стороны фасада здания, называются наружными (4), расположенные внутри – внутренними (5).

Ложковый ряд кладки – ряд, образованный из кирпичей, которые уложены длинной боковой стороной к наружной поверхности стены (10).

Тычковый ряд кладки – ряд, обращенный наружу короткой стороной (9).

Забутовочные кирпичи (забутка) – кирпичи, уложенные между внутренней и наружной верстой (6).

Высота рядов кладки складывается из высоты кирпича и толщины горизонтального слоя раствора (шва). Средняя толщина шва равна 12 мм.

Ширина кладки (толщина стен) делается кратной 1/2 кирпича. При ее определении также необходимо учитывать вертикальные швы, средняя толщина которых составляет 10 мм.

Разрезка каменной кладки

Для того чтобы камни в кладке лучше выдерживали действующую на них нагрузку всей стены, их располагают в соответствии с правилами так называемой разрезки. Камни укладывайте таким образом, чтобы они соприкасались друг с другом по возможности большей площадью. Например, если верхний камень будет опираться на лежащий под ним лишь двумя точками, то рано или поздно под влиянием нагрузки от вышележащих рядов он деформируется или сломается. И наоборот, камень, опирающийся всей плоскостью, может выдерживать гораздо большие нагрузки. Для этого необходимо выровнять впадину в его постели, заполнив ее раствором.

Первое правило разрезки. Если поверхности, которыми камни соприкасаются друг с другом, перпендикулярны к усилию, действующему на них, камни будут работать только на сжатие. Следовательно, постели камней необходимо располагать перпендикулярно к силе, воздействующей на кладку, а камни должны укладываться горизонтальными рядами.

Второе правило разрезки. Камни каждого ряда укладывайте таким образом, чтобы не произошел их сдвиг. Камни со скошенными боковыми поверх-ностями образуют в кладке клинья, которые будут раздвигать соседние камни. Для того чтобы этого не случилось, кладку нужно выстраивать таким образом, чтобы плоскости между соседними камнями были перпендикулярны постелям. Вместе с тем, если две боковые плоскости не будут расположены перпендикулярно к наружным поверхностям стен, а две другие боковые плоскости не будут перпендикулярны к первым, то камни, имеющие, например, острые углы у наружной поверхности, могут выпасть из кладки. Таким образом, кладку необходимо разделять вертикальными плоскостями (швами), параллельными ее наружной поверхности (параллельными швами), а также плоскостями, расположенными перпендикулярно к наружной поверхности (поперечными швами).

Третье правило разрезки. Если продольные и поперечные вертикальные швы будут сквозными, получится кладка, разделенная на отдельные столбики. Это весьма неустойчивая конструкция, в которой швы под воздействием вертикальной нагрузки будут расширяться, что рано или поздно приведет к деформации и разрушению кладки. Чтобы избежать этого, поперечные и продольные швы в граничащих друг с другом горизонтальных рядах следует перевязывать камнями вышележащего ряда, сдвигая их на половину или на четверть длины относительно камней нижележащего ряда. В этом случае нагрузка будет распределяться равномерно на всю массу кладки. Следовательно, плоскости вертикальной разрезки каждого ряда должны быть сдвинуты относительно плоскостей граничащих с ними рядов.

Система перевязки кладки

Системой перевязки называют порядок укладки кирпичей (камней) относительно друг друга. При кладке различают перевязку вертикальных швов, продольных и поперечных.

Перевязку продольных швов делают для того, чтобы кладка не расслаивалась вдоль стены на более тонкие стенки и чтобы нагрузка в кладке равномерно распределялась по ширине стены.

Перевязка поперечных швов необходима для продольной связи между отдельными кирпичами, обеспечивающей распределение нагрузки на соседние участки кладки и монолитность стен при неравномерных осадках, температурных деформациях и т. п.

Перевязку поперечных швов выполняют ложковыми и тычковыми рядами, а продольных – тычковыми.

Основными системами перевязки кирпичной кладки стен, широко применяемыми в нашей стране, являются однорядная (цепная) и многорядная, а также трехрядная перевязка.

Однорядная перевязка (рис. 16, а). В ней чередуются ложковые и тычковые ряды. Поперечные швы в смежных рядах сдвинуты относительно друг друга на четверть кирпича, а продольные – на полкирпича. Все вертикальные швы нижнего ряда перекрываются кирпичами вышележащего ряда. Цепная перевязка применяется при кладке стен. При возведении стен, у которых лицевой слой выкладывается из облицовочного или другого эффективного кирпича, цепная перевязка используется только при соответствующем указании в проекте.

  • Читать дальше
  • 1
  • ...
  • 29
  • 30
  • 31
  • 32
  • 33
  • 34
  • 35
  • 36
  • 37
  • 38
  • 39
  • ...

Ебукер (ebooker) – онлайн-библиотека на русском языке. Книги доступны онлайн, без утомительной регистрации. Огромный выбор и удобный дизайн, позволяющий читать без проблем. Добавляйте сайт в закладки! Все произведения загружаются пользователями: если считаете, что ваши авторские права нарушены – используйте форму обратной связи.

Полезные ссылки

  • Моя полка

Контакты

  • chitat.ebooker@gmail.com

Подпишитесь на рассылку: