Вход/Регистрация
Строим баню
вернуться

Доброва Елена Владимировна

Шрифт:

Последний этап – покрытие конька. Прибейте к нему специальный, с за-кругленной верхней гранью, коньковый брусок, имеющий сечение 100 х 60 мм. Затем закройте брусок полосами рулонного материала и уложите на него готовые асбестоцементные детали КПО-1 и КПО-2. Первую деталь кладите широким раструбом в сторону фронтона. Для гвоздей сделайте отверстие (два на плоском отвороте, два на оси выпуклой части). Отверстия на плоском отвороте сделайте так, чтобы они проходили через гребни волн асбестоцементных листов.

Вместо готовых деталей для конька можно использовать две сбитые под углом доски, установленные поверх асбестоцементных листов и прибитые к ним гвоздями.

Следует обратить внимание на то, что подшивать карнизы и крепить фронтонные доски удобнее до начала кровельных работ. Так, оголенная обрешетка будет выполнять роль лестницы, а работы можно вести как снизу, так и сверху.

Деревянные кровли

Дерево – не лучший, хотя и дешевый, материал для кровли, т. к. оно часто ломается, рассыхается, загнивает или сгорает. Но если правильно ухаживать за деревянной кровлей, она может служить до 15 лет. Кроме того, деревянные кровли легки, просты в устройстве, а в местностях, где поблизости имеется лес и приобрести материал не составляет особых проблем, еще и экономичны.

Уклон деревянной кровли – 28–45°.

Обрешетку выполните из брусков сечением 50 х 50 мм или жердей диаметром 60–70 мм, обтесанных на два канта. Карниз кровли и верхнюю приконьковую часть выкладывают из укороченных материалов, а рядовое покрытие – из полномерных.

Тесовая кровля

Тесовая кровля может быть одно– и двухслойной (чаще двухслойной). Доски для нее заготовьте прямые, ровные, без сучков и гнилых мест. Лучшее покрытие получается из строганых досок хвойных пород дерева толщиной 19–25 мм. Для того чтобы они служили дольше, предварительно обработайте их антисептиком, а готовую кровлю каждые 3–4 года покрывайте двумя слоями масляной водостойкой краски любого цвета.

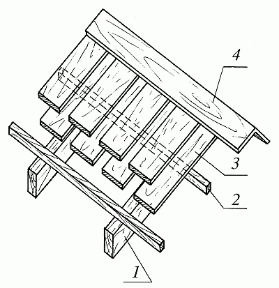
Как известно, усыхание древесины может привести к образованию многочисленных трещин на ее поверхности.

Чтобы этого не случилось, доски нижнего ряда покрытия необходимо укладывать выпуклостью годовых колец вверх, а верхнего ряда – вниз (рис. 41).

Рис. 41. Тесовая кровля: 1 – стропильная нога; 2 – обрешетина; 3 – доска; 4 – коньковая доска

Доски кладите перпендикулярно к коньку. При двухслойной кровле первый и второй слои досок ставьте впритык, не оставляя зазоров. При однослойном покрытии доски кладите вразбежку: первый ряд – с зазором, который затем перекройте досками второго ряда. Для прикрепления нижних досок к обрешетке в их середину вбейте гвоздь длиной 70 мм, а для прикрепления верхних по краям вбейте два гвоздя длиной 100 мм. Конек и ребра перекройте досками толщиной 25 мм, а швы между досками – специальными нащельниками. Для придания кровле особой декоративности доски можно располагать параллельно коньку, соединяя их внахлестку и располагая выпуклостью годовых колец вниз.

Кровля из драни

Кровля из драни традиционно используется в лесных районах Западной Украины (рис. 42). Она отличается особой декоративностью, ярко выраженным национальным колоритом, легка и проста в изготовлении.

Рис. 42. Кровля из драни: 1 – дрань; 2 – обрешетка из подтесанных жердей

Уклон кровли из драни – 28–45°.

Обрешетку под такое покрытие сделайте из жердей или брусков сечением 50 х 50 мм, которые прибиваются на расстоянии 200–300 мм друг от друга.

Кровля из драни бывает двух-, трех– и четырехслойной. В горизонтальных рядах каждая дранка должна перекрывать другую на 25–30 мм. По скату верхние дранки перекрывают нижние на 1/2 длины при двухслойном покрытии, на 2/3 длины – при трехслойном и на 3/4 длины – при четырехслойном покрытии (рис. 43).

Рис. 43. Укладка драни: 1 – дрань; 2 – обрешетка

Первый, укороченный, ряд драни уложите ворсистой стороной вниз, а все остальные (укороченные и полномерные) – ворсистой стороной вверх так, чтобы ворс был направлен по стоку воды. Все драницы в каждом ряду укладывайте внахлестку на 1/2 или 1/3 ширины. К обрешетке дрань следует прибить гонтовыми гвоздями 1,5 х 70 мм.

Горизонтальность укладываемых рядов проверьте по рейке, в которую упираются концы драниц. Конек сделайте из двух досок, прибитых поверх драночного покрытия.

Гонтовая кровля

Гонтовая кровля – самая дорогая и трудоемкая среди всех деревянных покрытий, но ее несомненными преимуществами являются прочность, долговечность и необычайная живописность (рис. 44).

Рис. 44. Гонтовая кровля: а – общий вид; б – гонтина; 1 – гонт; 2 – обрешетка; 3 – доски

Гонтовое покрытие отличается меньшей массой по сравнению с шиферным или черепичным, поэтому под него можно выбрать более легкую конструкцию кровли.

Под гонтовое покрытие не рекомендуется подкладывать какой-либо рулонный материал в качестве гидроизоляции, т. к. он препятствует вентиляции гонта, вызывая его загнивание.

Уклон гонтовой кровли – 30–50°.

Обрешетку под кровлю сделайте из жердей и брусков сечением 50 х 50 мм с шагом, равным одной трети длины гонта.

  • Читать дальше
  • 1
  • ...
  • 48
  • 49
  • 50
  • 51
  • 52
  • 53
  • 54
  • 55
  • 56
  • 57
  • 58
  • ...

Ебукер (ebooker) – онлайн-библиотека на русском языке. Книги доступны онлайн, без утомительной регистрации. Огромный выбор и удобный дизайн, позволяющий читать без проблем. Добавляйте сайт в закладки! Все произведения загружаются пользователями: если считаете, что ваши авторские права нарушены – используйте форму обратной связи.

Полезные ссылки

  • Моя полка

Контакты

  • chitat.ebooker@gmail.com

Подпишитесь на рассылку: