Вход/Регистрация
Бильярд. Самоучитель
вернуться

Здобников Николай

Шрифт:

Однако не всегда следует ударять точно в одну из указанных девяти точек битка — большое значение имеет удаление «своего» шара от играемого. Например, если перед ударом накатом биток стоит на расстоянии 0,5–2,5 м от прицельного шара, то удар кием наносится примерно в точку, расположенную посередине между центром «своего» шара и его верхним краем. При ударе о другой шар биток хоть и потеряет часть полученной энергии, но сохранит вращение вокруг горизонтальной оси, которое и даст ему возможность продолжать движение намного дольше, чем если бы у него такого вращения не было.

Если же «свой» шар отстоит от прицельного на 0,2–0,5 м, то при таком ударе кием по битку наката не получится, так как шар на столь коротком отрезке не успеет получить вращение нужной силы. Поэтому в данном случае для получения наката наносится короткий сильный удар почти в самый верхний край шара.

Необходимо производить аналогичную корректировку при выборе точки удара с учетом взаимного расположения битка и играемого шара (при выполнении оттяжки и боковых ударов).

Отраженные удары: дуплет и абриколь

При игре отраженных шаров, то есть дуплетах, триплетах и т. п., следует учитывать три закона физики, применимые в бильярде:

1) угол падения равен углу отражения (при простом ударе);

2) угол падения может быть не равен углу отражения (при боковике);

3) с увеличением числа ударов шара о борт возрастает вероятность попадания его в одну из луз (если начальное движение шара не перпендикулярно и не параллельно ни одной из линий бильярда).

Итак, основными ударами при игре отраженных шаров являются:

а) дуплет;

б) абриколь.

Дуплет

Дуплет — удар, при котором прицельный шар сначала ударяется о борт, а затем попадает в лузу (рис. 13).

Играть дуплетом можно вне зависимости от того, стоит ли прицельный шар около борта, или нет — вся разница будет в прицеле. Для результативного исполнения дуплета необходимо правильно рассчитать точку нанесения удара по битку и точку прицела.

Прямой дуплет

В данном случае прицельный шар бьют прямо «в лоб», в самый центр шара. Сила удара при игре прямым дуплетом в среднюю и угловую лузы различна. Дуплет в среднюю лузу выполняют несильным ударом с расчетом, что если шар не сыграет, а стукнется о губки лузы, он отойдет на некоторое расстояние и явной подставки не произойдет. В угловую же лузу надо играть только сильным ударом: если сыграть тихим, то при неточном ударе подставки не избежать.

Резаный дуплет

Этот удар более сложен, чем «прямой» дуплет. В позиции, когда угол падения не равен углу отражения, прицельный шар лучше «резать», а не играть «в лоб». При этом угол отражения может увеличиться по сравнению с углом падения (рис. 14).

Круизе

Удар выполняется так же, как и резаный дуплет, но в случае, когда биток стоит под тупым углом к линии, соединяющей средние лузы (рис. 15).

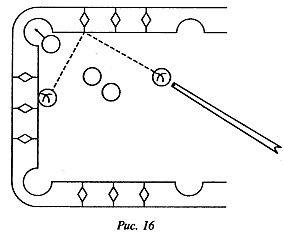
Абриколь

Напомним, абриколь — это удар, при котором биток сначала ударяется о борт, а затем в прицельный шар (рис. 16).

Например, если прицельный шар закрыт промежуточными шарами, играть можно битком, пущенным в сторону от них и отраженным от борта. Биток слегка подкручивается влево или вправо в зависимости от его положения.

Чтобы полностью контролировать исполнение дуплета и абриколя в бильярде необходимо:

— определить точку прицеливания при ударе от борта;

— выстроить в уме траекторию движения прицельного шара;

— определить силу нанесения удара;

— правильно определить точку нанесения удара по прицельному шару.

Существует несколько физических законов, к которым следует обращаться при исполнении отраженных шаров.

Напомним два из них:

1) угол падения равен углу отражения (при простом ударе);

2) угол падения может быть не равен углу отражения (при боковике).

Как же определить точку прицеливания при нанесении ударов от борта? Для этого есть несколько методов.

«Математический расчет»

Если биток и прицельный шар находятся на одном расстоянии от борта, стоит прицелиться в точку на борту, прямо посередине между шарами. А как быть в ситуации, показанной на рис. 17?

В данном случае подойдет формула: Y = АХ:(А + В). Но вы вряд ли будете ходить вокруг стола с линейкой и калькулятором, поэтому разумнее использовать бриллианты на бортах стола, сопоставляя расстояние между бриллиантами и удаленность шаров от борта. Да, для этого нужны хороший глазомер и четкое представление игровой ситуации в уме, на чем и строится бильярдное мастерство.

  • Читать дальше
  • 1
  • ...
  • 21
  • 22
  • 23
  • 24
  • 25
  • 26
  • 27
  • 28
  • 29
  • 30
  • 31
  • ...

Ебукер (ebooker) – онлайн-библиотека на русском языке. Книги доступны онлайн, без утомительной регистрации. Огромный выбор и удобный дизайн, позволяющий читать без проблем. Добавляйте сайт в закладки! Все произведения загружаются пользователями: если считаете, что ваши авторские права нарушены – используйте форму обратной связи.

Полезные ссылки

  • Моя полка

Контакты

  • chitat.ebooker@gmail.com

Подпишитесь на рассылку: