Вход/Регистрация
Бильярд. Самоучитель
вернуться

Здобников Николай

Шрифт:

— После контакта с битком ваш кий должен продвинуться не менее чем на 5—10 см на место, где до удара стоял биток, как бы «сопровождая» его.

Здесь, как и по многих других видах спорта, плавность и равномерность движения играют решающую роль.

— Старайтесь не дергать кий, не останавливать сразу же после его соударения с битком: дайте кию мягко пройти вперед и остановиться без вашего дополнительного усилия.

— Прослеживая путь битка, замрите в стойке после выполнения удара, как минимум до тех пор, пока биток не встретится с шаром. Не спешите выпрямляться или поднимать кий сразу после удара.

Самая распространенная ошибка начинающих игроков в пул — слишком сильный удар. Обычным несильным ударом в пуле считается удар, при котором биток, пущенный на пустом столе в противоположный борт (вдоль стола), проходит путь примерно в две длины стола, отражаясь от бортов один или дна раза. Удар такой силы применяется опытными игроками в 90 % случаев. Потренируйте прямой центральный удар битком в борт на пустом столе так, чтобы контролировать силу удара, не напрягаясь.

Разбиваем пирамиду

При игре в бильярд очень важен контроль над игровым полем, расположением шаров на нем до и после вашего удара. В значительной степени это относится и к первому удару партии — разбою пирамиды (рис. 28).

Важно помнить, что максимально разбить пирамиду вы можете только ударом «в лоб» в вершину пирамиды. Расположите биток в любой точке за линией «дома» (партия пула «восьмерка»), с силой нанесите удар по битку на 3–5 мм выше центра, прицелившись в вершину пирамиды.

Наклейка вашего кия после удара остановится приблизительно на центральной отметке. Некоторые игроки при таком разбое используют накат. Вероятность результативного удара достаточно высока, поскольку пирамида наверняка полностью разобьется и один из шаров, скорее всего, попадет в лузу (лучше, если это будет не биток или восьмой шар). Однако планировать далее такую партию вы вряд ли сможете, особенно, если ни один шар не окажется в лузе.

Как же сыграть первый удар с максимальной пользой?

Большинство опытных игроков сходятся в том, что при разбое пирамиды следует использовать удар такой силы, который, в зависимости от вашего уровня, позволит сохранить контроль над столом. Не желательно применять явный боковой удар и удар накатом по битку.

В качестве тренировки попробуйте следующий вариант. Расположите биток в 7—10 см от борта на линии «дома». Удар наносите чуть ниже и левее центра битка, но не настолько низко, чтобы придать ему существенное вращательное движение назад. Цельтесь во второй от вершины пирамиды шар. Ваша цель — отправить верхний шар в среднюю лузу. В зависимости от силы удара, после удара о борт можно отправить шар в сторону переднего борта, а шары в основании пирамиды, при хорошем раскладе — в угловые лузы. Такой удар требует определенной практики, но дает хороший результат, в чем вы обязательно убедитесь сами.

Запрещенные удары

В бильярдной игре, как в любом другом виде спорта, существуют удары, на применение которых наложено табу. К числу подобных ударов относятся: пропих, нажим и двойной удар.

Пропих

Пропих выполняют, когда биток и прицельный шар находятся близко друг к другу и к лузе. В основном, начинающие игроки стараются положить прицельный шар в лузу, не отрывая при этом кий от битка (рис. 29), за что и получают штрафные очки.

На рис. 30 показано правильное выполнение удара по шарам, расположенным определенным образом: в такой игровой ситуации лучше всего применять резку.

Нажим

Как правило, нажим выполняют новички в ситуации, когда играемый шар и биток находятся в устье лузы. Кий при этом держат параллельно плоскости шара, располагая его вдоль длинного борта, и пропихивающим движением загоняют чужой шар в лузу (рис. 32).

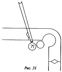
Такой удар на называется штрафом. Сыгрывать шары, находящиеся в описанной выше позиции, необходимо, как и в предыдущем случае, резкой (рис. 31).

Двойной удар

Двойной удар наносится в случае, когда при прицеливании наклейкой кия касаются битка. Двойной удар также наказывается штрафным очком.

Бриллиантовая система

  • Читать дальше
  • 1
  • ...
  • 25
  • 26
  • 27
  • 28
  • 29
  • 30
  • 31
  • 32
  • 33
  • 34
  • 35
  • ...

Ебукер (ebooker) – онлайн-библиотека на русском языке. Книги доступны онлайн, без утомительной регистрации. Огромный выбор и удобный дизайн, позволяющий читать без проблем. Добавляйте сайт в закладки! Все произведения загружаются пользователями: если считаете, что ваши авторские права нарушены – используйте форму обратной связи.

Полезные ссылки

  • Моя полка

Контакты

  • chitat.ebooker@gmail.com

Подпишитесь на рассылку: